thinkphp6.0框架开发,校园疫情防控进出登记管理系统源码,功能齐全,帮助校园疫情防控,当然也可以应用各种场景。
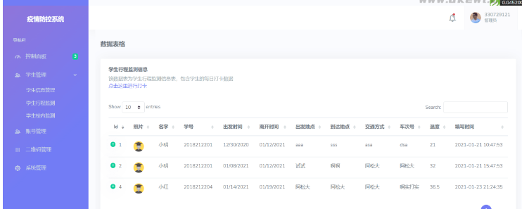
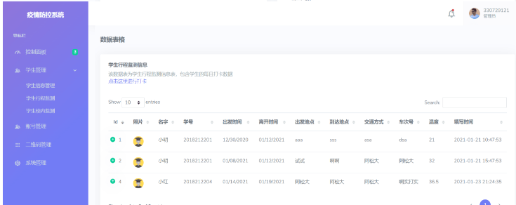
功能包括老师和学生角色权限,大数据图表展示,扫码进出校园,校园行程记录,生成二维码,学生管理,网站管理,学生签到打卡等功能等等。
运行环境
thinkphp6.0
mysql5.7
bootstrap4
本地测试集成环境软件:phpstudy
源码安装方法
可参考thinkphp项目搭建
添加网站根目录/public
添加伪静态
![图片[3]-thinkphp校园疫情防控进出登记管理系统源码](https://labishaxin.com/wp-content/uploads/2024/01/QQ截图20240124225055.png)
链接:https://pan.baidu.com/s/10MpL3OGZnPnxMPiOOMSSVg
下载密码评论后可见
内容看完了
© 版权声明








请登录后发表评论
注册